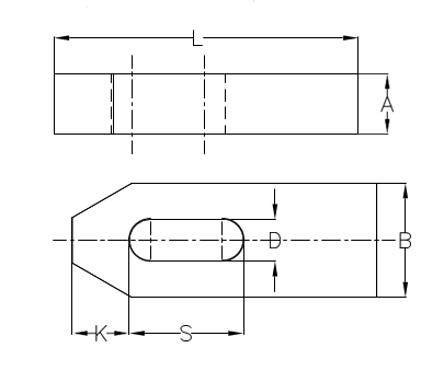
Material: Medium carbon steel, heat-treated to achieve a hardness of 24-32 HRC and subjected to a chemical blackening process.
Copyright @ . Sushant Technologies All Rights Reserved By Syntaxis Technologies